GDQ-JS三通式氣動高真空擋板閥

三通式氣動高真空擋板閥產品介紹:
GDQ-J/S型三通式氣動高真空擋板閥是以壓縮空氣為動力,通過控制氣動元件來改變氣路方向,雙路接口,氣缸驅動使擋板閥作啟閉運動,GDQ-J/S型三通式氣動高真空擋板閥用于接通或切斷真空管路中的氣流。
GDQ-JS型氣動高真空三通式擋板閥適用的工作介質為空氣或非腐蝕性氣體。
三通式氣動高真空擋板閥主要技術性能:
適用范圍(Pa) 105~1.3x10-4
閥門漏率(Pa.L/S) ≤1.3x10-5
介質溫度: -25℃~+80℃(密封材料為腈橡膠)、-30℃~+150℃(密封材料為氟橡膠)
氣源壓力: 0.4~0.8MPa
安裝位置: 任意
電源電壓 標準出廠:AC220V/50Hz
特殊指定:AC110V;DC24;DC24V等
信號反饋 標準出廠:不帶反饋信號
特殊指定:磁性開關DC/AC5~240V
法蘭標準:GB/T6070
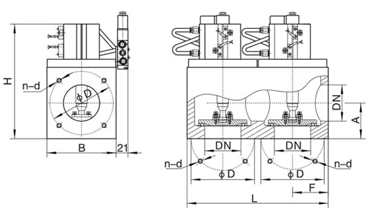
氣動三通式高真空擋板閥連接及外形尺寸:

| 型號 | 通徑(DN) | ΦD | ΦB | H | B | A/F | n/d |
| GDQ-JS50 | 50 | 90 | 200 | 199 | 100 | 55/50 | 4-M8 |
| GDQ-JS63 | 63 | 110 | 245 | 199 | 120 | 62/62 | 4-M8 |
